Contingut
El vostre tractor a peu de casa es convertirà en un ajudant indispensable a l’hora de processar un hort, tenir cura d’animals i realitzar altres treballs agrícoles. Ara s’ofereix al consumidor una gran selecció d’aquests equips, però el seu cost no és assequible per a tothom. Això no vol dir que hagueu de renunciar a la idea de facilitar la vostra feina. Ara veurem com fer un tractor amb les nostres pròpies mans a partir de les peces de recanvi disponibles d’equips antics.
Dispositiu de tractor per darrere
El principi general del dispositiu de motoblocs de diferents marques és gairebé el mateix. Qualsevol unitat està formada per un motor, caixa de canvis, bastidor, xassís, embragatge i comandaments. Segons aquest principi, el tractor a peu es muntarà amb les seves pròpies mans a partir de recanvis antics.
La potència de la unitat dependrà del motor trobat. Per a productes casolans, és millor utilitzar un motor refrigerat per aire, per exemple, des d’una motocicleta o un arc de tecnologia similar. Fins i tot, el tractor a peu es pot equipar amb un motor elèctric amb una potència de 2 kW o més, només s’haurà de connectar a una xarxa trifàsica. És difícil trobar un motor elèctric monofàsic d’aquesta potència i, si feu funcionar un motor elèctric trifàsic mitjançant condensadors, es perdrà part de la potència.
L'embragatge del tractor a peu s'ha d'instal·lar quan s'utilitza qualsevol tipus de motor. Aquesta unitat s’encarrega de transmetre el parell motor a les rodes. És bo quan, juntament amb un motor de moto de gasolina, hi hagi un embragatge autòcton. En aquest cas, no cal ajustar res.
Tots els motors tenen una velocitat elevada i el tractor a peu s’ha de moure lentament. Reduir la velocitat ajudarà una caixa de canvis instal·lada entre el motor i el conjunt de rodes motrius. Aquest conjunt consisteix en un conjunt d'engranatges de diferents diàmetres, que poden reduir la velocitat de les rodes.
Comencem a muntar
Quan se seleccionen totes les peces necessàries, podeu començar a muntar el producte casolà. El primer pas és soldar el marc. Hi estaran adherides totes les unitats del tractor a peu. Vam presentar el diagrama de marcs per revisar-lo a la foto.
Podeu calcular les vostres mides, ja que poden diferir de les unitats disponibles. El marc està format per una canonada metàl·lica amb una secció transversal de 32 mm. Estarà bé si resulta que doblega una estructura d’una sola peça i els ponts encara s’han de soldar.
Al diagrama, es necessita l'element sota el número 8 per subjectar el mecanisme que us permet tensar la cadena. A la peça número 5 s’adjuntaran un reductor de cadena i un tren de rodatge. També podeu adjuntar un carro de transport aquí.
La següent foto mostra un motor refrigerat per aire. En el disseny considerat del tractor a peu enrere, s'utilitza un motor de "Ant".
S'instal·la un suport al marc comú del tractor a peu per al motor. El seu diagrama es mostra a la foto. El disseny és un arc doblegat d’un tub amb un diàmetre de 32 mm. Tres frontisses es solden a partir d'una cinta d'acer en llocs corresponents a la ubicació dels forats de muntatge del motor.
El muntatge del motor ha de lliscar sobre el marc. Això és necessari perquè pugueu apretar la cadena.Després d’instal·lar el motor, comencen a tractar amb el silenciador. Es desvia cap al lateral perquè els gasos d’escapament no entrin a l’operador.
El següent nus és un reductor de cadena. A la foto es mostra un diagrama del seu dispositiu. El mecanisme té dues etapes, en què la reducció de velocitat es deu a dues rodes dentades amb 57 i 17 dents.
El joc de rodes per al tractor a peu es pot fabricar independentment o treure de l’equip antic. En el nostre exemple, la unitat es retira del carro motoritzat SMZ. A la foto podeu veure un diagrama de components adjunts de rodes addicionals.
Per tal que la unitat fabricada pugui processar el sòl, heu de convertir-lo en un motocultor. Per a això, es fa un suport en forma de T a partir d’un tub quadrat. El seu diagrama es mostra a la foto.
Com a resultat, vam obtenir un model bàsic de tractor a peu. Però, al cap i a la fi, es necessita equip per realitzar diferents tasques, de manera que els propers productes casolans seran elements dels fitxers adjunts.
El vídeo mostra un tractor casolà:
Equipament addicional per a un tractor a peu casolà
El tractor muntat de recanvis vells només suposa un 50% d’èxit. A més, cal fer un treball no menys difícil en la fabricació de rodes i accessoris de ferro.
Lugs
Hi ha moltes maneres de fer ganivetes de bricolatge per a un tractor a peu i la primera d’elles és la més senzilla. Per fer-ho, agafeu xapa d’acer de 3 mm de gruix, retalleu-ne una tira al llarg de l’amplada de la banda de rodament del pneumàtic i soldeu-la per sobre, doblegada amb un angle de 120Sobre, plaques metàl·liques. La cinta amb les puntes del pneumàtic es junta amb dos tacs.
És òptim fabricar serretes per a un tractor a peu amb les seves pròpies mans segons el principi del disseny de fàbrica. A la foto es mostra un diagrama d’aquestes rodes de ferro.
El disc central de les llengüetes està tallat amb xapa d'acer de 5 mm de gruix. Les tires de 50 mm d’amplada es tallen del mateix metall i després es formen anells a partir d’elles. Per a dues rodes en necessiteu 6. Els ganxos es tallen a partir d'una tira d'acer amb un gruix de 8 mm. Tots els elements estan connectats mitjançant soldadura. Els eixos estan units al centre dels discos. És millor fer-los ajustables de manera que sigui possible canviar l’amplada de la pista del tractor a peu.
El pes de cada roda de ferro serà d’uns 10 kg. Això assegurarà que la màquina estigui ben connectada a terra.
Arada
Per llaurar un jardí, heu de muntar una arada per a un tractor a peu darrere amb les vostres pròpies mans, el diagrama del qual us proposem veure a la foto. Aquest disseny típic d’un sol cos s’adapta a qualsevol capacitat de la màquina.
Fabriquen una arada per a un tractor a peu amb les seves pròpies mans mitjançant la tecnologia següent:
- El bastidor està format per una tira d’acer de 10-12 mm de gruix. Per ajustar l'angle d'inclinació i la profunditat d'immersió de l'arada, es fan forats en una fila al suport. Alternativament, per ajustar-lo, podeu fer que un retenidor es mogui al llarg del bastidor.
- El més difícil és arquejar la fulla. Per a la seva fabricació, prengui xapa d’acer de 3 mm de gruix. És millor doblar-lo segons el model d’una arada de fàbrica, en cas contrari es pot equivocar amb l’angle. El dipòsit acabat es tempera escalfant-lo al foc vermell i després es llença a aigua alcalina.
- La planxa està feta d’acer d’aliatge alt. Es fixa a l'abocador amb reblons perquè els seus taps no sobresurten a la superfície.
Tots els elements es munten segons l'esquema proposat. Quan l’arada del tractor a peu es completa amb les seves pròpies mans, intenten llaurar la terra. Si tots els elements es mantenen en l’angle correcte i la participació està ben esmolada, l’arada tallarà suaument la capa del sòl sense sacsejar-la.
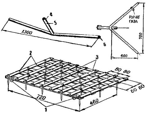
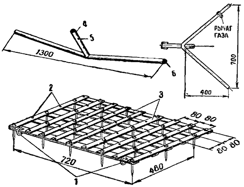
Harrow
El següent element de l’accessori és fer una rella per a un tractor a peu darrere amb les seves pròpies mans, que siguin rotatives, de disc i de dent.
El disseny més senzill és la grada dentada. Per a la seva fabricació, el marc es munta primer i després es solden les dents de 25-50 mm de llarg a la mateixa distància.
A la foto es mostra l’esquema de fabricació d’una rasa dentada.El marc està soldat a partir d’un tub quadrat. És millor no soldar les dents, sinó tallar els fils i subjectar-los amb femelles. En cas d’avaria, serà més fàcil canviar-los.
Per a desplaçaments longitudinals en una rella feta a casa, podeu instal·lar una frontissa d'un cotxe GAZ 53. A més del dispositiu de remolc, necessitareu dues barres. Proporcionaran un millor control de la rella.
Camió
Per transportar mercaderies, heu de fer un carretó per a un tractor a peu darrere amb les vostres pròpies mans, el diagrama del qual es mostra a la foto.
Hi ha diferents opcions de disseny, des de carrosseries simples fins a dúmpers. En qualsevol cas, és imprescindible que el carretó faci el següent:
- El marc es solda des d’un canal, angle o canonada.
- El cos es pot fer: amb una porta del darrere, portell posterior obert i parets laterals, o completament fixat. El millor material per fabricar és la llauna i, en absència, podeu utilitzar una pissarra.
- S'instal·la una barra de tracció per enganxar un tractor al darrere. La longitud es selecciona individualment de manera que sigui convenient fer funcionar l'equip.
- El seient del conductor es pot instal·lar al cos o fixar-se a la barra de tracció.
- Per connectar l’enganxament del tractor amb la barra de tracció, cal una frontissa. És millor demanar-lo al torn o treure’l d’altres equips.
- L'eix amb el joc de rodes es pot treure d'altres equips o fer-ne un tros de canonada. Però després heu de moldre casquets, ajustar coixinets i instal·lar eixos amb discos de roda.
Si se suposa que transporta càrregues pesades, és millor fer el carretó a quatre rodes. En aquest cas, és imprescindible instal·lar amortidors.
El vídeo mostra un dump truck:
Conclusió
L’autoproducció d’un tractor a peu i equips addicionals és una qüestió força complicada. Tot i això, l’estalvi de costos és impressionant.
















